铁路行业管理软件

  • 道口预警1
  • 道口预警2
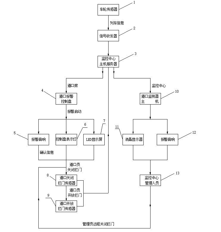
  • 道口预警流程图

道口预警

  • 发布时间:2017-03-16 16:06
  • 铁路道口智能管理系统,监控中心监视器语音提示某某道口预警、语音提示列车监控系统故障、显示列车以轧上车轮传感器、显示拦门开关状态、显示列车预计到达道口时间、 自动弹出道口实
  • 在线咨询
 
铁路道口现状:
铁路道口列车接近信息传递到道口有两种形式:一种形式是有自动通知的道口,
利用自动闭塞区段轨道电路或另设专用检测设备检测列车接近信息。列车接近道口时,
用看守房内的道口控制盘上的表示灯和音响信号通知道口作业人员,通过列车接近时发出的连续音响,
自动通知看守人员列车已接近道口列车的到来,使看守人员提前做好准备工作。道口的自动通知装置节点距离道口一般为1500-2800m左右,
当列车压上报警节点后道口室内自动通知装置小喇叭会发出“滴溚”报警声响;室外道口信号机上方喇叭同时发出“叮铛”报警声响。
另一种形式,没有自动通知的道口,列车接近道口信息依靠相邻道口看守人员利用电话或对讲机传递。
这两种获得列车信息方式都存在缺陷,第一种存在列车接近道口距离短,列车接近道口信息通常在两分钟之内,
遇到机动车在道口发生故障,不能保证第一时间拦停火车防止发生相撞事故;第二种存在受道口作业人员不受控和通讯工具不稳定的特点,
可能导致列车接近信息漏传和误传。另外,列车接近信息和关闭道口拉门信息都局限在远离铁路工务段的道口房内,铁路工务段起不到监控作用。
 
现状存在问题:
 
1、道口报警距离短。
2、无自动通知道口报警。
3、过程监控。
4、远程控制道口拦门。
 
铁路道口智能管理系统
解决以下问题:
解决了有自动通知的道口报警距离短问题和无自动通知道口报警问题,监控中心对道口员作业过程监控,实现了远程控制道口拦门,提高了道口安全保障能力。
 
技术原理:
采用物联网理念,通过基于移动网络的TCP协仪,将道口监控中心、道口预警装置、列车预警装置连接到一起,形成了基于道口员作业事件的铁路道口智能管理系统。
通过安装在钢轨上的车轮传感器装置,感应到列车运行信息后,通过网络通信模块将数据发送到监控中心主机服务器,通过服务器处理后,
将信息分别发送到道口预警控制盘和监控中心监视器上。一方面,道口预警控制盘接到列车信息后,通过表示灯、音响信号、LED提示屏通知道口作业人员,
道口作业人员接到信息后按压确认键后疏导车辆和行人关闭道口拦门,道口拦门关闭后,安装在拦门上的传感器将拦门关闭信息传递给道口控制盘里的采集模块,
通过道口互联网将信息传递到主机服务器。列车通过后,道口员开放拦门,拦门上的传感器将拦门开放信息传递给道口控制盘里的采集模块,通过道口互联网将信息传递到主机服务器。
另一方面,主机服务器将道口的预警、道口员确认、道口拦门开关闭信息、道口监控图像传到监控中心监视器上,监控中心管理员实时监控,并对道口员的作业痕迹进行自动保存、分析和查询。
 
实现功能:
铁路道口智能管理系统,监控中心监视器语音提示某某道口预警、语音提示列车监控系统故障、显示列车以轧上车轮传感器、显示拦门开关状态、显示列车预计到达道口时间、
自动弹出道口实时监控图像、显示蓄电池电压、存储道口员作业信息、显示车轮传感器位置气温、远程开关拦门功能。
 

联系我们

CONTACT US

南京英佛信息技术有限公司

QQ:939814322,36429492

电话:02583245162

邮箱:939814322@qq.com

地址:江苏省南京市鼓楼区燕亭路2号5幢339室

在线客服

QQ客服1:
点击这里给我发消息

QQ客服2:
点击这里给我发消息

旺旺客服:
点这里给我发消息

分享:

服务时间:
9:00-17:00(周1-5)